今天起,一批国家标准正式实施
发布时间:2026年02月02日 浏览次数: 字体:【

2月1日起,软件过程能力成熟度模型、5G移动通信安全、能源计量器具配备和管理、科技成果转化为标准、学生体质健康测试器材、中小学生午休课桌椅、适老家具设计、商品条码符号放置、消费者服务、电梯安全、地震救援队伍能力等一批重要国家标准开始实施,将为引领和规范新兴产业及未来产业的发展、推动成果与标准的转化应用、保护消费者权益、保障人民群众生命财产安全提供标准支撑。

软件过程能力成熟度模型国家标准

《软件过程能力成熟度模型》(GB/T 45989—2025)推荐性国家标准规定了软件过程能力成熟度框架、战略与治理、开发与交付、管理与支持和组织保障四组能力域在成熟度五个等级中的能力要求。该标准的实施有利于软件企业改进软件过程、提升管理水平,实现软件行业整体能力水平的提升,促进我国软件业的持续健康发展。

5G移动通信网通信安全国家标准

《5G移动通信网通信安全技术要求》(GB/T 46462—2025)推荐性国家标准确立了5G移动通信网通信安全架构,规定了5G移动通信网的接入安全、网络安全、用户隐私防护、安全服务等通信安全技术要求及安全功能,并描述了相关安全流程等。标准的实施有助于提升通信网络与垂直行业融合时的通信安全能力,确保5G移动通信网的通信安全。

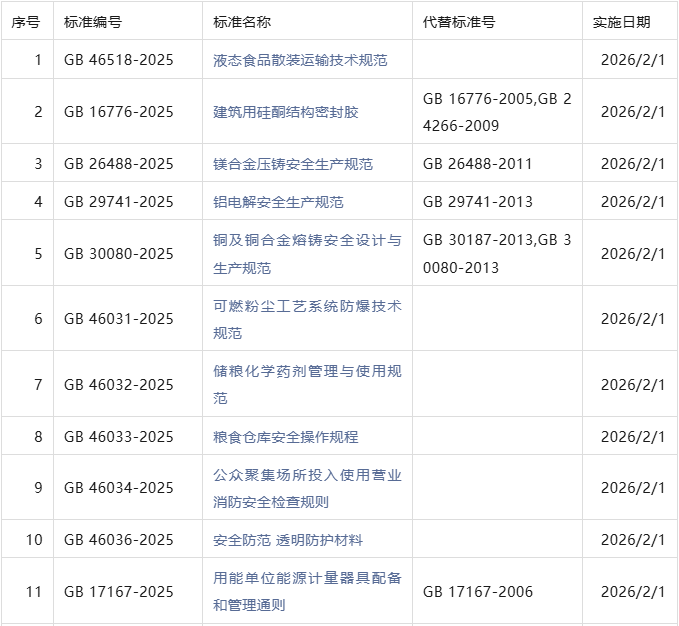
能源计量器具配备和管理通则国家标准

《用能单位能源计量器具配备和管理通则》(GB 17167—2025)强制性国家标准规定了用能单位能源计量器具的配备原则、配备率要求、准确度等级/最大允许误差要求,以及能源计量制度、人员、器具、数据等管理的基本要求。标准的实施将对用能单位科学开展能源计量工作,实现企业节能降耗、提高经济效益、加强能源科学管理发挥重要作用。

科技成果转化为标准国家标准

《科技成果转化为标准指南》(GB/T 33450—2025)推荐性国家标准提供了科技成果转化为标准的需求分析、可行性分析、可行性评估、标准类型与内容确定等方面的指导。标准的实施有助于推动前沿和关键新兴技术领域成果转化,促进标准与科技创新、产业创新深度融合。

学生体质健康测试器材国家标准

《中小学体育器材和场地 第12部分:学生体质健康测试器材》(GB/T 19851.12—2025)推荐性国家标准界定了学生体质健康测试器材的术语和定义、分类,规定了测试器材的要求、试验方法、检验规则以及标志、包装、运输、贮存。标准的实施将有助于确保学校体育器材的质量和安全,增强学生体质。

中小学生午休课桌椅国家标准

《中小学生午休课桌椅通用技术要求》(GB/T 46016—2025)推荐性国家标准规定了中小学生午休课桌椅的技术要求、试验方法、检验规则、标志、包装、运输和贮存。标准的实施将有助于保证中小学生午休课桌椅的质量,有效满足非寄宿制学校学生午休需求,保护学生的身心健康。

适老家具设计国家标准

《适老家具 设计指南》(GB/T 46015—2025)推荐性国家标准确立了适老家具设计的总则,提供了设计要素和设计实现的指导,并给出了需要考虑的老年用户特征及相关信息。标准的实施将为老年人使用的家具产品的设计生产提供参考性建议,更好地满足老年人使用需求,有效提升老年人身心健康、安全生活指数,改善老年人生活品质。

商品条码符号放置国家标准

《商品条码 条码符号放置要求》(GB/T 14257—2025)推荐性国家标准规定了商品条码符号放置的通则,零售商品、储运包装商品、物流单元上条码符号放置要求。标准的实施将规范商品包装上商品条码放置位置,提高商品流通各环节数据采集效率,满足商品流通信息化管理需求。

消费者服务相关国家标准

《消费体验中心建设与服务通则》(GB/T 46705—2025)推荐性国家标准确立了消费体验中心的建设与服务的总体原则,规定了消费体验中心建设要求、服务内容及要求、服务管理以及评价与改进。《消费品和有关服务的比较试验 实施要求》(GB/T 46708—2025)推荐性国家标准规定了消费品和有关服务比较试验的基本要求、试验流程、结果发布和监督改进等。以上两项标准的实施,将有助于为消费者提供客观、科学的产品评价和消费体验,引导企业提高产品质量和服务水平,促进经济高质量发展。

电梯安全要求国家标准

《电梯安全要求 第2部分:满足电梯基本安全要求的安全参数》(GB/T 24803.2—2025)推荐性国家标准规定了电梯、电梯部件和电梯功能的安全参数。标准的实施将为我国开展电梯、电梯部件、电梯功能等效安全评价提供技术依据,有效保障我国的电梯安全。

地震救援队伍能力国家标准

《地震救援队伍能力基本要求》(GB/T 46578—2025)推荐性国家标准规定了地震救援队伍在救援行动能力、培训与演练、装备配置方面的总体要求,以及重型、中型、轻型及微型地震救援队在救援行动能力和装备配置方面的具体要求。标准的实施将提升我国地震灾害生命救援效能,支撑快速响应与协同调度。

认证君将202621日起正式实施的国标进行了汇编整理,内容如下,供参考。

202621日起实施的强制性国家标准

202621日起实施的推荐性国家标准


阅读原文:

https://mp.weixin.qq.com/s/1ene1ledtAawnNqdtjTUsw

责任编辑:质量与认证 信息来源:全国标准信息公共服务平台、市说新语、质量与认证

扫一扫在手机打开当前页